Proximity Sensing Keyboard

WO2024172658A1, filed by Elliptic Laboratories AS

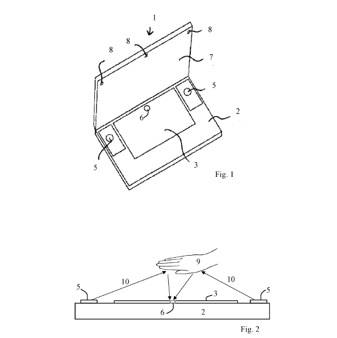
This invention describes a new type of keyboard that can detect when hands are approaching, or resting on it, without requiring physical contact with any additional sensors. By integrating ultrasonic sensing directly into the keyboard structure, the system can monitor presence, movement, and gesture patterns in real time.

The key innovation lies in using proximity data to improve interaction. For example, the keyboard can wake up from sleep, adjust backlighting, or change functionality when it senses that the user is about to start typing or has placed their hands on the device. It can also enable gesture-based shortcuts, such as swipes to change slides or control media playback.

Compared to conventional proximity technologies like capacitive or infrared sensors, this ultrasonic solution offers higher spatial resolution and is more robust across different lighting and usage environments. The technology can be applied to mechanical keyboards, laptop keyboards, or standalone input devices, all without affecting the typing experience.

This enables a more responsive and context-aware interface that adapts to user intent, improves usability, and contributes to energy savings—making it valuable in both consumer electronics and professional workstations.

Show CommentsClose Comments

Leave a comment